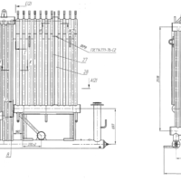
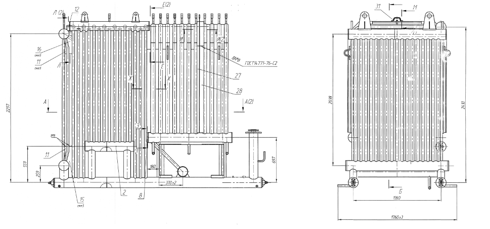
Устройство
Трубные системы КЕ 2.5-14 состоят:
- Из кипятильных (конвективных) труб, которые обеспечивают нагрев воды и последующее парообразование.
- Из экранных, которые представляют собой поверхности нагрева. Они воспринимают лучистое тепло от горящего топлива.
Предназначены они для того, чтобы обеспечить заданный температурный режим теплоносителя.
Преимущества:
- cистема отлично выдерживает температурные нагрузки;
- увеличивает эффективность котла;
- позволяет котлоагрегату стабильно, без сбоев, работать.
Приобрести товар
Вы можете оставить заявку на сайте – наш специалист перезвонит вам в течение нескольких минут и даст исчерпывающую консультацию. Также вы можете связаться с нами по телефону. Оборудование поставляется с нашего завода-изготовителя в полной комплектации, со всеми необходимыми документами и гарантией.


