Устройство
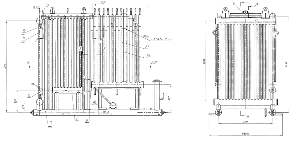
Трубные системы котлов ДКВР 4-13 представляют собой комплект, состоящий из различных по назначению труб. Они служат заменой вышедших из строя элементов котла.
Трубные системы ДКВР 4-13 состоят:
- Из кипятильных (конвективных) труб, которые обеспечивают нагрев воды и последующее парообразование.
- Из экранных, которые представляют собой поверхности нагрева. Они воспринимают лучистое тепло от горящего топлива.
Приобрести товар
Вы можете оставить заявку на сайте – наш специалист перезвонит вам в течение нескольких минут и даст исчерпывающую консультацию. Также вы можете связаться с нами по телефону. Оборудование поставляется с нашего завода-изготовителя в полной комплектации, со всеми необходимыми документами и гарантией.


